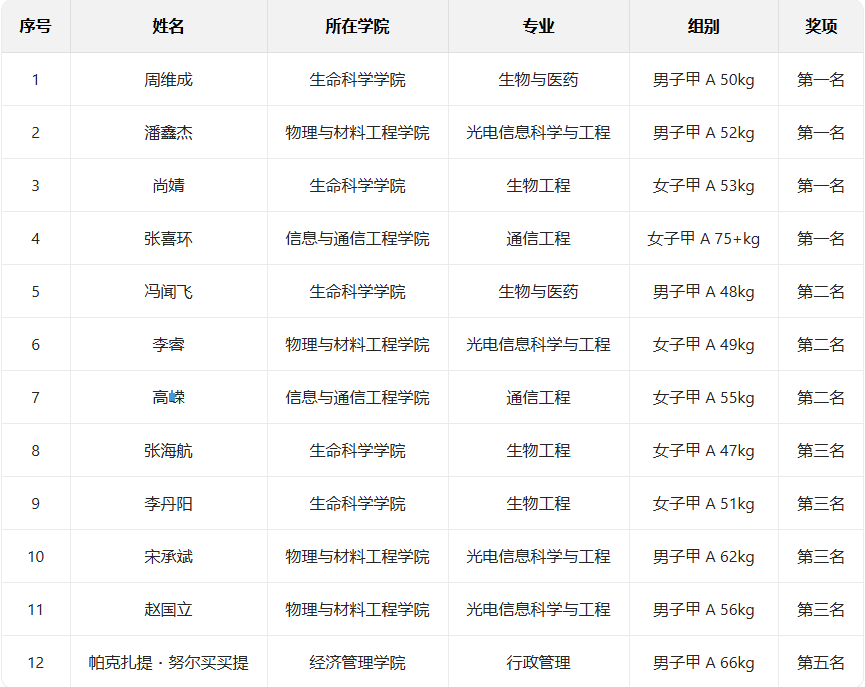
民大新闻网讯 11月1日至8日,第九届中国大学生武术散打锦标赛在河北迁安举行。经过顽强拼搏,我校散打队最终取得4枚金牌、3枚银牌、4枚铜牌以及1个第五名的佳绩,成功卫冕甲A组团体总分第一名,并荣膺该项赛事团体项目三连冠。我校荣获“体育道德风尚运动队”称号,体育教学研究部教师牛铁柱获评“优秀教练员”,冯闻飞同学获评“优秀运动员”。

本届赛事规模盛大,吸引了全国167所高校代表队、1195名运动员在多个组别和级别中展开激烈角逐。体育教学研究部高度重视此次大赛,精心组织系统化、高强度集训,科学备战。比赛中,我校选手沉着冷静、敢打敢拼,展现出精湛的技战术水平和良好的精神风貌,最终载誉而归,延续了我校在该项全国性顶级赛事中的优势地位。
体育教学研究部将以本次比赛获奖为全新起点,持续深化体育教育教学改革,进一步激发学生参与体育锻炼的热情,让学生在享受运动快乐、强健体魄的同时,进一步磨练意志品质,增强团队协作能力,既为学校高质量发展贡献力量,也为健康中国建设注入青春动能。
获奖名单
